来源:铸造头条 作者:小宝收藏
2021-08-27 13:09
一、铸造的定义和分类
铸造的定义:是将液体金属浇铸到与零件形状相适应的铸造空腔中,待其冷却凝固后,获得具有一定形状、尺寸和性能金属零件毛坯的成型方法。
常见的铸造方法有砂型铸造和精密铸造,详细的分类方法如下表所示。
砂型铸造:砂型铸造——在砂型中生产铸件的铸造方法。钢、铁和大多数有色合金铸件都可用砂型铸造方法获得。由于砂型铸造所用的造型材料价廉易得,铸型制造简便,对铸件的单件生产、成批生产和大量生产均能适应,长期以来,一直是铸造生产中的基本工艺。
精密铸造:精密铸造是用精密的造型方法获得精确铸件工艺的总称。它的产品精密、复杂、接近于零件最后形状,可不加工或很少加工就直接使用,是一种近净形成形的先进工艺。

铸造方法分类
二、常用的铸造方法及其优缺点
1.普通砂型铸造
制造砂型的基本原材料是铸造砂和型砂粘结剂。最常用的铸造砂是硅质砂,硅砂的高温性能不能满足使用要求时则使用锆英砂、铬铁矿砂、刚玉砂等特种砂。应用最广的型砂粘结剂是粘土,也可采用各种干性油或半干性油、水溶性硅酸盐或磷酸盐和各种合成树脂作型砂粘结剂。
砂型铸造中所用的外砂型按型砂所用的粘结剂及其建立强度的方式不同分为粘土湿砂型、粘土干砂型和化学硬化砂型3种。

砂型铸造用的是最流行和最简单类型的铸件已延用几个世纪.砂型铸造是用来制造大型部件,如灰铸铁,球墨铸铁,不锈钢和其它类型钢材等工序的砂型铸造。其中主要步骤包括绘画,模具,制芯,造型,熔化及浇注,清洁等。
工艺参数的选择
加工余量:所谓加工余量,就是铸件上需要切削加工的表面,应预先留出一定的加工余量,其大小取决于铸造合金的种类、造型方法、铸件大小及加工面在铸型中的位置等诸多因素。
起模斜度:为了使模样便于从铸型中取出,垂直于分型面的立壁上所加的斜度称为起模斜度。
铸造圆角:为了防止铸件在壁的连接和拐角处产生应力和裂纹,防止铸型的尖角损坏和产生砂眼,在设计铸件时,铸件壁的连接和拐角部分应设计成圆角。
型芯头:为了保证型芯在铸型中的定位、固定和排气,模样和型芯都要设计出型芯头。
收缩余量:由于铸件在浇注后的冷却收缩,制作模样时要加上这部分收缩尺寸。
优点:
粘土的资源丰富、价格便宜。使用过的粘土湿砂经适当的砂处理后,绝大部分均可回收再用;
制造铸型的周期短、工效高;
混好的型砂可使用的时间长;
适应性很广。小件、大件,简单件、复杂件,单件、大批量都可采用;
缺点及局限性:
因为每个砂质铸型只能浇注一次,获得铸件后铸型即损坏,必须重新造型,所以砂型铸造的生产效率较低;
铸型的刚度不高,铸件的尺寸精度较差;
铸件易于产生冲砂、夹砂、气孔等缺陷。
2.熔模铸造
用蜡料做模样时,熔模铸造又称"失蜡铸造"。熔模铸造通常是指在易熔材料制成模样,在模样表面包覆若干层耐火材料制成型壳,再将模样熔化排出型壳,从而获得无分型面的铸型,经高温焙烧后即可填砂浇注的铸造方案。由于模样广泛采用蜡质材料来制造,故常将熔模铸造称为“失蜡铸造”。
可用熔模铸造法生产的合金种类有碳素钢、合金钢、耐热合金、不锈钢、精密合金、永磁合金、轴承合金、铜合金、铝合金、钛合金和球墨铸铁等。

熔模铸造工艺过程
优点:
尺寸精度较高。一般可达CT4-6(砂型铸造为CT10~13,压铸为CT5~7);
可以提高金属材料的利用率。熔模铸造能显著减少产品的成形表面和配合表面的加工量,节省加工台时和刃具材料的消耗;
能最大限度地提高毛坯与零件之间的相似程度,为零件的结构设计带来很大方便。铸造形状复杂的铸件熔模铸造能铸出形状十分复杂的铸件,也能铸造壁厚为0.5mm、重量小至1g的铸件,还可以铸造组合的、整体的铸件;
不受合金材料的限制。熔模铸造法可以铸造碳钢、合金钢、球墨铸铁、铜合金和铝合金铸件,还可以铸造高温合金、镁合金、钛合金以及贵金属等材料的铸件。对于难以锻造、焊接和切削加工的合金材料,特别适宜于用精铸方法铸造;
生产灵活性高、适应性强熔模铸造既适用于大批量生产,也适用小批量生产甚至单件生产。
缺点及局限性:
铸件尺寸不能太大工艺过程复杂铸件冷却速度慢。熔模铸造在所有毛坯成形方法中,工艺最复杂,铸件成本也很高,但是如果产品选择得当,零件设计合理,高昂的铸造成本由于减少切削加工、装配和节约金属材料等方面而得到补偿,则熔模铸造具有良好的经济性。
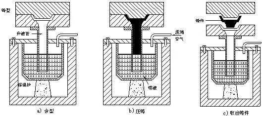
3.压铸
压铸工艺原理是利用高压将金属液高速压入一精密金属模具型腔内,金属液在压力作用下冷却凝固而形成铸件。

压力铸造 a) 合型浇注 b) 压射 c) 开型顶件
冷、热室压铸是压铸工艺的两种基本方式。冷室压铸中金属液由手工或自动浇注装置浇入压室内,然后压射冲头前进,将金属液压入型腔。在热室压铸工艺中,压室垂直于坩埚内,金属液通过压室上的进料口自动流入压室。压射冲头向下运动,推动金属液通过鹅颈管进入型腔。金属液凝固后,压铸模具打开,取出铸件,完成一个压铸循环。

压铸工艺流程图
优点:
产品质量好。铸件尺寸精度高,一般相当于6~7级,甚至可达4级;表面光洁度好,一般相当于5~8级;强度和硬度较高,强度一般比砂型铸造提高25~30%,但延伸率 降低约70%;尺寸稳定,互换性好;可压铸薄壁复杂的铸件;
生产效率高。机器生产率高,例如国产JⅢ3型卧式冷空压铸机平均八小时可压铸600~700次,小型热室压铸机平均每八小时可压铸3000~7000次;压铸型寿命长,一付压铸型,压铸钟合金,寿命可达几十万次,甚至上百万次;易实现机械化和自动化;
经济效果优良。由于压铸件尺寸精确,表泛光洁等优点。一般不再进行机械加工而直接使用,或加工量很小,所以既提高了金属利用率,又减少了大量的加工设备和工时;铸件价格便易;可以采用组合压铸以其他金属或非金属材料。既节省装配工时又节省金属。
缺点及局限性:
压铸时由于液态金属充填型腔速度高,流态不稳定,故采用一般压铸法,铸件易产生气孔,不能进行热处理;
对内凹复杂的铸件,压铸较为困难;
高熔点合金(如铜,黑色金属),压铸型寿命较低;
不宜小批量生产,其主要原因是压铸型制造成本高,压铸机生产效率高,小批量生产不经济。
4.金属型铸造
又称硬模铸造,它是将液体金属浇入金属铸型,以获得铸件的一种铸造方法。铸型是用金属制成,可以反复使用多次(几百次到几千次),又叫永久型铸造。
金属型的结构
一般的,金属型用铸铁和铸钢制成。铸件的内腔既可用金属芯、也可用砂芯。金属型的结构有多种,如水平分型、重直分型及复合分型。其中垂直分型便于开设内浇口和取出铸件;水平分型多用来生产薄壁轮状铸件;复合分型的上半型是由垂直分型的两半型采用铰链连结而成,下半型为固定不动的水平底板,主要应用于较复杂铸件的铸造。
金属型铸造型的工艺特点:金属型的导热速度快和无退让性,使铸件易产生浇不足、冷隔、裂纹及白口等缺陷。此外,金属型反复经受灼热金属液的冲刷,会降低使用寿命,为此应采用以下辅助工艺措施。
预热金属型:浇注前预热金属型,可减缓铸型的冷却能力,有利于金属液的充型及 铸铁的石墨化过程。生产铸铁件,金属型预热至250~350℃;生产有色金属件预热至100~250℃。
刷涂料:为保护金属型和方便排气,通常在金属型表面喷刷耐火涂料层,以免金属 型直接受金属液冲蚀和热作用。因为调整涂料层厚度可以改变铸件各部分的冷却速度,并有利于金属型中的气体排出。浇注不同的合金,应喷刷不同的涂料。如铸造铝合金件,应喷刷由氧化锌粉、滑石粉和水玻璃制成的涂料;对灰铸铁件则应采用由石墨粉、滑石粉、耐火粘土粉及桃胶和水组成的涂料。
浇注:金属型的导热性强,因此采用金属铸型时,合金的浇注温度应比采用砂型高 出20~30℃。一般的,铝合金为680℃~740℃;铸铁为1300℃~1370℃;锡青铜为1100~1150℃。薄壁件取上限,厚壁件取下限。铸铁件的壁厚不小于15mm,以防白口组织。
开型:开型愈晚,铸件在金属型内收缩量愈大,取出采用困难,而且铸件易产生大 的内应力和裂纹。通常铸铁件的出型温度700~950℃,开型时间为浇注后10~60秒。
优点:
与砂型铸造相比,金属型铸造有如下优点:
复用性好,可“一型多铸”,节省了造型材料和造型工时。
由于金属型对铸件的冷却能力强,使铸件的组织致密、机械性能高。
铸件的尺寸精度高,公差等级为IT12~IT14;表面粗糙度较低,Ra为6.3m。
金属型铸造不用砂或用砂少,改善了劳动条件。
缺点及局限性:
金属型的制造成本高、周期长、工艺要求严格,不适用于单件小批量铸件的生产,主要适用于有色合金铸件的大批量生产,如飞机、汽车、内燃机、摩托车等用的铝活塞、汽缸体、汽缸盖、油泵壳体及铜合金的轴瓦、轴套等。对黑色合金铸件,也只限于形状较简单的中、小铸件。
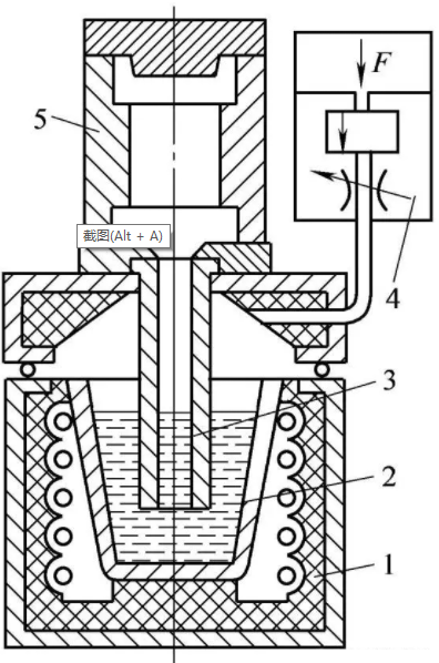
5.低压铸造
低压铸造是指使液体金属在较低压力(0.02~0.06MPa)作用下充填铸型,并在压力下结晶以形成铸件的方法。

低压铸造工艺原理图:1—保温室 2—坩埚 3—升液管 4—贮气罐 5—铸型
低压铸造的工作原理下图所示。把熔炼好的金属液倒入保温坩埚,装上密封盖,升液导管使金属液与铸型相通,锁紧铸型,缓慢地向坩埚炉内通入干燥的压缩空气,金属液受气体压力的作用,由下而上沿着升液管和浇注系统充满型腔,并在压力下结晶,铸件成型后撤去坩埚内的压力,升液管内的金属液降回到坩埚内金属液面。开启铸型,取出铸件。

低压铸造示意图
优点:
浇注时金属液的上升速度和结晶压力可以调节,故可适用于各种不同铸型(如金属型、砂型等),铸造各种合金及各种大小的铸件;
采用底注式充型,金属液充型平稳,无飞溅现象,可避免卷入气体及对型壁和型芯的冲刷,铸件的气孔、夹渣等缺陷少,提高了铸件的合格率;
铸件在压力下结晶,铸件组织致密、轮廓清晰、表面光洁,力学性能较高,对于大薄壁件的铸造尤为有利;
省去补缩冒口,金属利用率提高到90%~98%;
劳动强度低,劳动条件好,设备简易,易实现机械化和自动化。
缺点及局限性:
升液管寿命短,且在保温过程中金属液易氧化和产生夹渣。主要用来铸造一些质量要求高的铝合金和镁合金铸件,如气缸体、缸盖、曲轴箱和高速内燃机的铝活塞等薄壁件。
6.离心铸造
离心铸造是将金属液浇入旋转的铸型中,在离心力作用下填充铸型而凝固成形的一种铸造方法。
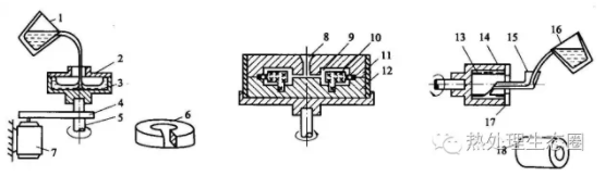
离心铸造的分类
根据铸型旋转轴线在空间的位置,常见的离心铸造可分为两种:
卧式离心铸造:铸型的旋转轴线处于水平状态或与水平线夹角很小(<4°)时的离心铸造。
立式离心铸造:铸型的旋转轴线处于垂直状态时的离心铸造称为立式离心铸造。
铸型旋转轴与水平线和垂直线都夹有较大角度的离心铸造称为倾斜轴离心铸造,但应用很少。

a)立式离心铸造 b)立式离心浇注成形铸件 c)卧式离心铸造
1,16—浇包 2,14—铸型 3,13—液体金属 4—带轮和带 5—旋转轴 6—铸件 7—电动机8—浇注系统 9—型腔 10—型芯 11—上型 12—下型 15—浇注槽 17—端盖
优点:
用离心铸造生产空心旋转体铸件时,可省去型芯、浇注系统和冒口;
由于旋转时液体金属在所产生的离心力作用下,密度大的金属被推往外壁,而密度小的气体、熔渣向自由表面移动,形成自外向内的定向凝固,因此补缩条件好,铸件组织致密,力学性能好;
便于浇注“双金属”轴套和轴瓦,如在钢套内镶铸一薄层铜衬套,可节省价格较贵的铜料;
充型能力好;
消除和减少浇注系统和冒口方面的消耗。
缺点及局限性:
铸件内自由表面粗糙,尺寸误差大,品质差;
不适用于密度偏析大的合金(如铅青铜)及铝、镁等合金。
三、铸造缺陷及其控制方法
铸件缺陷种类繁多,产生缺陷的原因也十分复杂。它不仅与铸型工艺有关,而且还与铸造合金的性制、合金的熔炼、造型材料的性能等一系列因素有关。因此,分析铸件缺陷产生的原因时,要从具体情况出发,根据缺陷的特征、位置、采用的工艺和所用型砂等因素,进行综合分析,然后采取相应的技术措施,防止和消除缺陷。
1.浇不到
铸件局部有残缺、常出现在薄壁部位、离浇道最远部位或铸件上部。残缺的边角圆滑光亮不粘砂。
产生原因:
浇注温度低、浇注速度太慢或断续浇注;
横浇道、内浇道截面积小;
铁水成分中碳、硅含量过低;
型砂中水分、煤粉含量过多,发气量大,或含泥量太高,透气性不良;
上砂型高度不够,铁水压力不足。
防止方法:
提高浇注温度、加快浇注速度,防止断续浇注;
加大横浇道和内浇道的截面积;
调整炉后配料,适当提高碳、硅含量;
铸型中加强排气,减少型砂中的煤粉,有机物加入量;
增加上砂箱高度。
2.未浇满
铸件上部残缺,直浇道中铁水的水平面与铸件的铁水水平面相平,边部略呈圆形。
产生原因:
浇包中铁水量不够;
浇道狭小,浇注速度又过快,当铁水从浇口杯外溢时,操作者误认为铸型已经充满,停浇过早。
防止方法:
正确估计浇包中的铁水量;
对浇道狭小的铸型,适当放慢浇注速度,保证铸型充满。
3.损伤
铸件损伤断缺。
产生原因:
铸件落砂过于剧烈,或在搬运过程中铸件受到冲撞而损坏;
滚筒清理时,铸件装料不当,铸件的薄弱部分在翻滚时被碰断;
冒口、冒口颈截面尺寸过大;冒口颈没有做出敲断面( 凹槽)。或敲除浇冒口的方法不正确,使铸件本体损伤缺肉。
防止方法:
铸件在落砂清理和搬运时,注意避免各种形式的过度冲撞、振击,避免不合理的丢放;
滚筒清理时严格按工艺规程和要求进行操作;
修改冒口和冒口颈尺寸,做出冒口颈敲断面,正确掌握打浇冒口的方向。
4. 粘砂和表面粗糙
粘砂是一种铸件表面缺陷,表现为铸件表面粘附着难以清除的砂粒;如铸件经清除砂粒后出现凹凸不平的不光滑表面,称表面粗糙。
产生原因:
砂粒太粗、砂型紧实度不够;
型砂中水分太高,使型砂不易紧实;
浇注速度太快、压力过大、温度过高;
型砂中煤粉太少;
模板烘温过高,导致表面型砂干枯;或模板烘温过低,型砂粘附在模板上。
防止方法:
在透气性足够的情况下,使用较细原砂,并适当提高型砂紧实度;
保证型砂中稳定的有效煤粉含量;
严格控制砂水分;
改进浇注系统,改进浇注操作、降低浇注温度;
控制模板烘烤温度,一般与型砂温度相等或略高。
5.砂眼
在铸件内部或表面充塞有型砂的孔眼。
产生原因:
型砂表面强度不够;
模样上无圆角或拔模斜度小导致钩砂、铸型损坏后没修理或没修理好就合箱;
砂型在浇注前放置时间过长,风干后表面强度降低;
铸型在合箱时或搬运过程中损坏;
合箱时型内浮砂未清除干净,合箱后浇口杯没盖好,碎砂掉进铸型。
防止方法:
提高型砂中粘士含量、及时补加新砂,提高型砂表面强度;
模样光洁度要高,并合理做出拔模斜度和铸造圆角。损坏的铸型要修好后再合箱;
缩短浇注前砂型的放置时间;
合箱或搬运铸型时要小心,避免损坏或掉入砂型腔砂粒;
合箱前清除型内浮砂,并盖好浇口。
6. 披缝和胀砂
披缝常出现在铸件分型面处,是垂直于铸件表面,且厚薄不均匀的薄片状金属突起物。胀砂是铸件内、外表面局部胀大,形成不规则的瘤状金属突起物。
产生原因:
紧实度不够或不匀;
面砂强度不够、或型砂水分过高;
液态金属压头过大、浇注速度太快。
防止方法:
提高铸型紧实度、避免局部过松;
调整混砂工艺、控制水分,提高型砂强度;
降低液态金属的压头、降低浇注速度。
7.抬箱
铸件在分型面处有大面积的披缝,使铸型外形尺寸发生变化。抬箱过大,造成跑火——铁水自分型面外溢,严重时造成浇不足缺陷。
产生原因:
砂箱未紧固、压铁质量不够或去除压铁过早;
浇注过快,冲击力过大;
模板翅曲。
防止方法:
增加压铁重量,特铁水凝固后再去除压铁;
降低浇包位置,降低浇注速度;
修正模板。
8.掉砂
铸件表面上出现的块状金属突起物,其外形与掉落的砂块很相似。在铸件其它部位,则往往出现砂眼或残缺。
产生原因:
模样上有深而小的凹槽,同于结构特征或拔模斜度小,起模时将砂型带坏或震裂;
紧实度不匀,铸型局部强度不足;
合箱、搬运铸型时,不小心使铸型局部砂块掉落。
防止方法:
模样拔模斜度要合适、表面光洁;
铸型紧实度高且均匀;
合箱、搬运过程中,操作小心。
9.错型(错箱)
铸件的一部分与另一部分在分型面的接缝处错开,发生相对位移,使铸件外形与图纸不相符合。
产生原因:
模样制作不良,上下模没有对准或模样变形;
砂箱或模板定位不准确,或定位销松动;
挤压造型机上零件磨损,例如正压板下衬板、反压板轴承的磨损等;
浇注时用的套箱变形,搬运、围箱时不注意,使上下铸型发生位移。
防止方法:
加强模板的检查和修理;
经常检查砂箱、模板的定位销及销孔、并合理地安装;
检查挤压造型机的有关零件,及时调整,磨损大的要更换;
定期对套箱整形。脱箱后的铸型在搬运时要小心。在面浇注的砂型,应该做一排砂型围一排。
10.灰口和麻点
铸件断口呈灰黑色或出现黑色小点,中心部位较多,边部较少,金相观察可见到片状石墨。
产生原因:
铁水化学成分不合要求,碳、硅含量过高;
炉前孕育的铋加入浇包内过早或过迟,或是铋量不足。
防止方法:
正确选择化学成分,合理配料,使铁水中碳、硅量在规定范围内;
增加铋的加入量并严格炉前孕育工艺。
11.裂纹(热裂、冷裂)
铸件外部或内部有穿透或不穿透的裂纹。热裂时带有暗色或黑色的氧化表面断口外形曲折。冷裂是较干净的脆性裂纹,断口较平,具有金属光泽或轻微的氧化色泽。
产生原因:
铁水中碳、硅含苞欲放量过低,含硫量过高;
浇注温度过高;
冒口颈过大、过短,造成局部过热严重,或重口太小,补缩不好;
铸件在清理、运输过程中,受冲击过大。
防止方法:
控制铁水化学成分在规定的范围内;
降低浇注温度;
合理设计冒口系统;
铸件在清理、运输过程中避免过度冲击。
12.气孔
气孔的孔壁光滑明亮,形状有圆形、梨形和针状,孔的尺寸有大有小,产生在铸件表面或内部。铸件内部的气孔在敲碎后或机械加工时才能被发现。
产生原因:
小炉料潮湿、锈蚀严重或带有油污,使铁水含气量太多、氧化严重;
出铁孔、出铁槽、炉衬、浇包衬未洪干;
浇注温度较低,使气体来不及上浮和逸出;
炉料中含铝量较高,易造成氢气孔;
砂型透气性不好、型砂水分高、含煤粉或有机物较多,使浇注时产生大量气体且不易排出。
防止方法:
炉料要妥善管理,表面要清洁;
炉缸、前炉、出铁口、出铁槽、浇包必须烘干;
提高浇注温度;
不使用铝量过高的废钢;
适当降低型砂的水分、控制煤粉加入量,扎通气孔等。
13.缩松、疏松
分散、细小的缩孔,带有树枝关结晶的称缩松,比缩松更细小的称疏松。常出现在热世部位。
产生原因:
铁水中碳、硅含量过低,收缩大;
浇注速度太快、浇注温度过高,使得液态收缩大;
浇注系统、冒口设计不当,无法实现顺序凝固;
冒口太小,补缩不充分。
防止方法:
控制铁水的化学成分在规定范围内;
降低浇注速度和浇注温度;
改进浇冒口系统,利用顺序凝固;
加大冒口体积,保证充分补缩。
14.反白口
铸件断口内部出现白口组织,边缘部分出现灰口。
产生原因:
碳、硅含量较高的铁水,含氢量过高;
炉料中带入的铬等白口形成元素过多;
元素偏析严重;
防止方法:
控制化学成分、碳、硅含量不宜过高;
炉衬、包衬要烘干;型砂水分不宜过高;
加强炉料管理,减少带入白口化元素。
四、汽车铸造新技术和新方向
1.砂成形技术的发展趋势
潮模造型经过手工紧实→震击+压实紧实→高压+微震紧实→气冲紧实→静压紧实几个发展阶段。静压造型技术实质是“气冲预紧实+压实”。有以下优点:铸型轮廓清晰,表面硬度高且均匀,起模斜度小,型板利用率高,工艺装备磨损小,铸型表面光洁度高,铸型型废率低。因此,是目前最新、最先进的造型工艺,并已成为当今的主流紧实工艺。
当前,国外比较有名的制造静压造型设备的厂家有德国的 KW公司、HWS公司和意大利萨威力公司。国内汽车铸造厂家大都选用HWS公司或KW公司制造的设备,如一汽铸造公司、东风汽车铸造厂、上海圣德曼铸造公司、华东泰克西、山西三联、广西玉柴、无锡柴油机厂等。
2.近净形技术发展趋势
铸造成形工艺
消失模铸造也称气化模铸造、实型铸造、无型腔铸造,被铸造界誉之为“21世纪的铸造新技术”、“铸造的绿色工程”。该工艺的方法是采用无粘结剂干砂加抽真空技术。我国有一百多家企业用该工艺生产箱体类、管件阀体类、耐热耐磨合金钢类等三大类铸件,总产量超过10万t。今后,该工艺将大量采用快速制造技术和模拟仿真技术,以缩短生产准备周期,实现铸件的快捷生产。
熔模精密铸造成形型工艺
熔模精密铸造工艺有水玻璃制壳工艺、复合制壳工艺、硅溶胶制壳工艺。汽车产品材料有碳素钢、合金钢、有色合金与球墨铸铁。国外有高合金钢、超合金材料。熔炼设备国内采用普通、快速中频炉;国外采用真空炉、翻转炉、高频炉技术。熔模精密铸造技术成型工艺将来的发展趋势是产品离商品越来越近,传统的精铸件只作为毛坯,已经不适应市场的快速应变;产品的复杂程度和质量档次越来越高;研发手段越来越强,专业化协作开始显现,CAD、CAM、CAE的应用成为产品开发主要技术。
3.制芯技术的发展趋势
目前,国内外汽车铸造制芯有三种制芯工艺,在现代汽车铸造中常并行采用的主要工艺 有热芯盒制芯、壳芯制芯、冷芯盒制芯等,传统的合脂或油砂制芯已被淘汰。
制芯工艺技术有以冷芯盒技术为主的发展趋势。一汽铸造公司、东风汽车铸造厂、上海圣德曼铸造公司、华东泰克西、山西国际铸造公司等均采用冷芯盒制芯技术。
4.铸铁熔炼技术的发展趋势
目前,国内外铸铁熔炼技术有两种主要方式:一是采用大型热风除尘冲天炉与工频保温炉双联熔炼工艺;二是采用中频感应电炉熔炼工艺技术。
美国因达公司和彼乐公司生产的中频炉技术开始越来越受到重视,该技术日益成熟,其清洁、环保、节能、高效、安全的优势突出,是今后发展的方向。一汽铸造公司、东风汽公司采用因达公司和彼乐公司生产的中频炉和保温炉技术。已经开发与应用的球化剂、孕育剂、蠕化剂和其他各种添加剂产品,形成商品化、标准化、规格化、系列化。
5.合金气缸体、气缸盖压铸成形技术
铝合金是汽车上应用最快和最广的轻金属,因为铝合金本身的性能已经达到质量轻、强度高、耐腐蚀的要求。最初,铝合金仅用于一些不受冲击的部件。后来,通过强化合金元素,铝合金的强度大大提高,由于质轻、散热性好等特性,可以满足发动机活塞、气缸体、气缸盖在恶劣环境下工作的要求。铝合金气缸体、气缸盖压铸成形核心技术可以提高净化、精练、细化、变质等材质质量控制,使得铝铸件质量达到一致性和稳定性。
随着我国汽车业的发展,特别是家用轿车的快速增加和汽车部件出口的增大,汽车铝铸件将有很大的增长。铝气缸盖成形工艺主要有两种,一是以欧美为代表的重力铸造成型工艺,上海皮尔博格、南京泰克西等公司,选用意大利法塔公司重力铸造机生产铝气缸盖。二是以日韩为代表的低压铸造成型工艺,东风日产发动机分公司铝压铸车间、广东肇庆铸造公司、天津丰田铸造公司,选用日本新东等公司低压铸造机生产铝气缸盖。
6.半固态压铸成型技术
半固态技术发源于美国,因此在美国这一技术已经基本成熟,处于全球领先地位,被称之为21世纪最有前途的材料成形加工工艺。Alumax公司率先将该技术转化为生产力,生产的铝合金汽车制动总泵体毛坯尺寸接近零件尺寸,加工量占铸件质量的13%,同样的金属型铸件的加工余量则占铸件质量的40%。20世纪80年代以来,欧洲等国在半固态应用方面作了大量研究和应用工作。
7.铸铁材质的发展趋势
薄壁高强度灰铸铁件技术
灰铸铁件在汽车上大量应用,由于该材料具有低的成本和良好的铸造性能优势。随着汽车技术轻量化要求,灰铸铁的增长和发展将受到一定的影响,因此加强薄壁高强度气缸体、气缸盖铸件技术的开发与应用将是发展趋势。
蠕墨铸铁技术
蠕墨铸铁具有球墨铸铁的强度,与灰铸铁相比又有类似的防振、导热能力及铸造性能,有好的塑性和耐热疲劳性能,可以解决大马力气缸盖的热疲劳裂纹问题。蠕墨铸铁广泛应用的巨大潜在市场是在汽车业,其主要产品则是发动机气缸体和大功率柴油机气缸盖铸件。随着汽车轻量化和比功率(kW/排量)的提高,气缸体和气缸盖的工作温度越来越高,许多部位的工作温度超过200 ℃,在此温度下,铝合金的强度大幅度下降,而蠕铁则具有很大的优势。
球墨铸铁技术
球墨铸铁由于其高强度、高韧性和低价格,所以在汽车市场上仍有很大发展。汽车铸造业球铁主要有4类产品技术工艺的发展趋势。一是铸态珠光体、高强度的载货车和轿车曲轴,铸态铁素体、高伸长率的汽车排气管和桥壳底盘类铸件;二是保安类铸件,铸态生产轿车转向节;三是耐热球铁件,高硅钼、中硅钼、高镍球铁,该材质生产的排气管件;四是奥贝球铁,主要用于生产曲轴等产品。除上述外,汽车铸造厂已经生产出铸态球铁冷激凸轮轴。
8.铸造过程计算机应用技术发展趋势
随着汽车铸造技术的快速发展,为缩短铸件生产准备周期和降低新产品开发的风险,采用快速原型技术、计算机仿真模拟、三维建模、数控技术的应用越来越广。快速原型技术应用开发新产品试制用的模样及熔模铸造的蜡模外,还可以制做酚醛树脂壳型、壳芯,可以直接用来装配成砂型。模拟造型过程正在成为国际汽车铸造关注的前沿领域之一。应用Magma、华铸软件对新产品的铸件充型、凝固的温度场和流动场模拟分析处理,预测和分析铸件的缺陷。
9.铸造检测技术
无损检测技术的应用越来越广,对重要件时常采用荧光磁粉检测表面裂纹;采用超声波或音频检测球铁的球化率;涡流检测铸件的基体组织(珠光体含量)。为满足重要件检测的要求,有的将上述三项检测仪器组合成一条自动检测线。
10.绿色铸造技术发展趋势
“绿色铸造”是使铸造产品从设计、制造、包装、运输、使用到报废处理整个产品生命周期中,对环境的负面影响最小,资源效率最高。铸造行业历来被认为是高能耗、高污染的行业,要不断开发新的节能、清洁、低排放、低污染的铸造材料以投入生产使用。



/*本文部分内容(图片)来源于网络,若牵涉版权请联系删除。
——欢迎登陆www.zhuzaotoutiao.com发表您的作品
正在加载评论数据,请稍候...
查看所有评论